简体
|
繁体
深圳市宝安纯中医治疗医院
Shenzhen Bao'an Authentic TCM Therapy Hospital
首 页
Home
医院概况
About Us
医院简介
机构设置
医院文化
医院新闻
News
医院动态
通知公告
Announcements
通知文件
招标公告
招聘信息
就医指南
Patient Guide
预约挂号
门诊须知
住院须知
医保政策
科室分布
专科专家
Departments & Experts
科室介绍
重点学科
专家介绍
科研教学
Research & Education
科教动态
继教园地
金世元中药传承工作室
伦理委员会
研究生招生
刘方柏工作室
肖相如工作室
姚梅龄工作室
岐黄学院
数智中医转化研究所
文化宣教
Culture & Education
中医药文化
养生保健
信息公开
Transparency
物价收费
资金信息
环保信息
预决算公开
您现在的位置:
首页
>
深圳市宝安纯中医治疗医院
>
科研教学
>
伦理委员会
>
申请指南
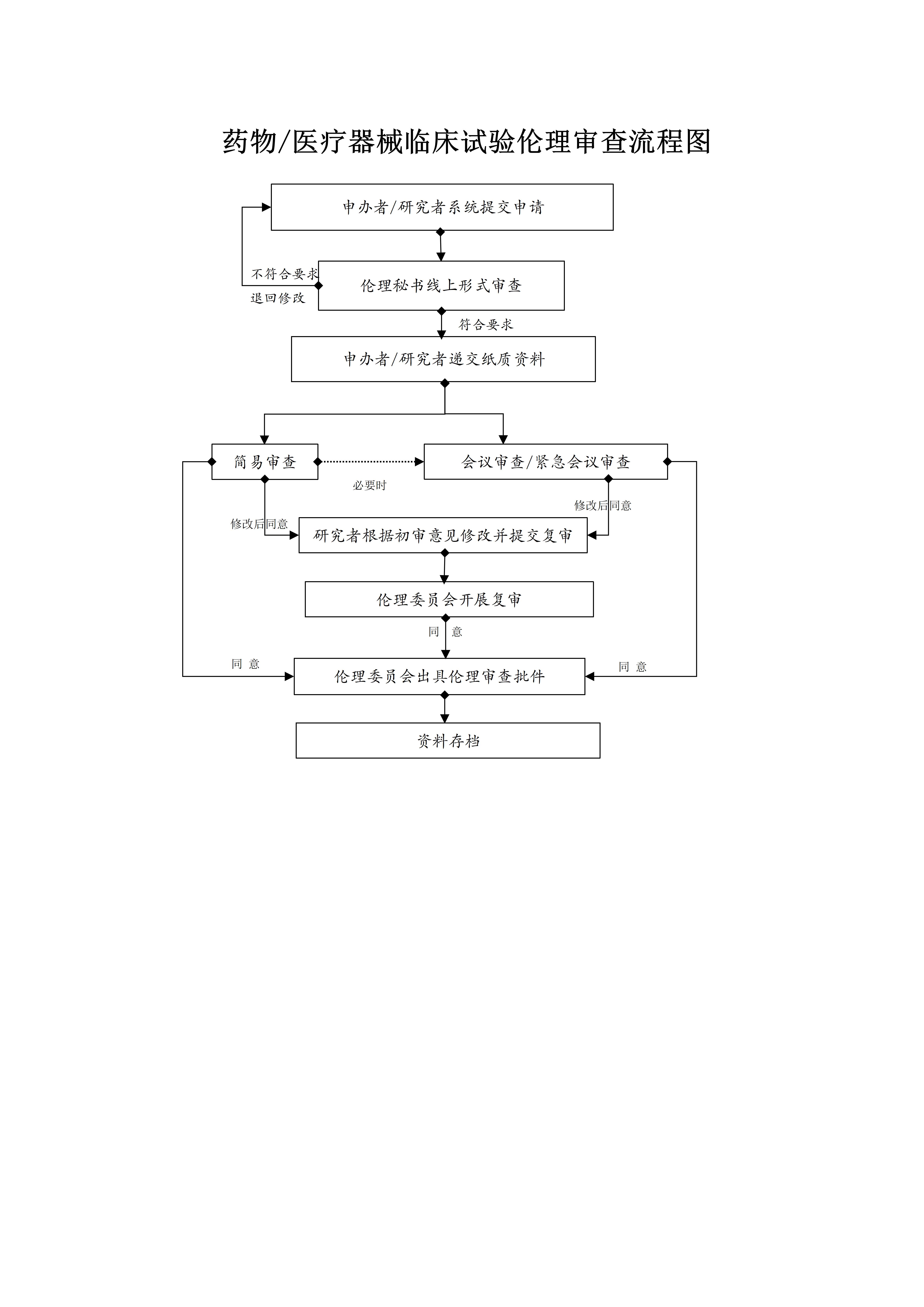
伦理审查流程
日期:2025-05-08
信息来源: